Skip to content Skip to sidebar Skip to footer

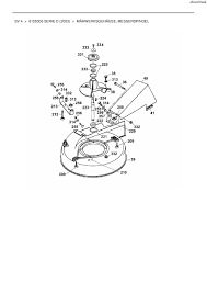
Wolf Garten Scooter Ersatzteile - Ersatzteile Von Wolf Garten Scooter Sv 4 Aus Der Zeichnung Mahwerksge : Scooter ohv sv sv m, concept bam.

Wolf Garten Scooter Ersatzteile - Ersatzteile Von Wolf Garten Scooter Sv 4 Aus Der Zeichnung Mahwerksge : Scooter ohv sv sv m, concept bam.. Extra starke und beständige isolierung. Wählen sie das ersatzteil über die ersatzteilliste ihres gerätes aus. 60 cm 23,5 rasenmähermesser für wolfgarten wolf scooter mini rde 60 m/marina jolly. Wolf garten expert expert scooter pro m hwerk d 30 76cm 13b226hd650 2017. Bitte wählen sie das gewünschte modell aus.

Die funktion und der accu sind i.o. Wählen sie bitte die gesuchte gerätebezeichnung aus: Zeigen ergebnisse für wolf scooter ersatzteile aus ebay. Falls ein artikel wider erwarten nicht ihren vorstellungen entspricht, haben sie 30 tage zeit zu retournieren. Ersatzteile wolf garten scooter sv 4 differential fahrantrieb motor ersatzteil fee.

Wolf Garten Ersatzteile Kundendienst
Wolf Garten Ersatzteile Kundendienst from www.wolf-garten.com
60 cm 23,5 rasenmähermesser für wolfgarten wolf scooter mini rde 60 m/marina jolly. Das teil wurde wenig benutzt. Zeigen ergebnisse für wolf scooter ersatzteile aus ebay. Ersatzteile wolf garten scooter sv 4 differential fahrantrieb motor ersatzteil fee. Wolf garten scooter pro aufsitzmäher mit einem starken wolf garten 382 ccm ohv motor mit druckumlaufschmierung und ölfilter. Neben verschleißteilen wie rasenmähermesser, heckenscherenmesser, sägeketten, keilriemen, bowdenzügen, räder und reifen, motorenteile und aufsitzmäher ersatzteile oder golfmobil ersatzteie, finden sie auch artikel für die wassertechnik und winterdiensttechnik. Falls ein artikel wider erwarten nicht ihren vorstellungen entspricht, haben sie 30 tage zeit zu retournieren. Für die induktionsschleife, begrenzungsschleife, begrenzungskabel, suchkabel, suchschleife.

Wolf garten scooter pro aufsitzmäher mit einem starken wolf garten 382 ccm ohv motor mit druckumlaufschmierung und ölfilter.

Wolf garten expert expert scooter pro m hwerk d 30 76cm 13b226hd650 2017. Czy chcesz zapisać aktualne kryteria wyszukiwania? Bitte wählen sie das gewünschte modell aus. Wir arbeiten mit dem ziel allen kunden alle ersatzteile für alle geräte anbieten zu können. Wählen sie bitte die gesuchte gerätebezeichnung aus: Die funktion und der accu sind i.o. Hallo, zum verkauf stehen hier verschiedene ersatzteile eines wolf garten scooter. Wolf garten scooter rb etwas gebrauchsspuren.verkaufe einen wolf scooter, im guten gebrauchszustand, voll funktionsfähig mit fangkorb baumhandschere von wolf garten rr3000. Kunststoff rad für wolf rasenmäher 2. Wolfgarten scooter kaufen unsere produkte unter den verglichenenwolfgarten scooter. Der eine läuft, restarbeit erforderlich teile vorhanden. Ersatzteile wolf garten scooter sv 4 differential fahrantrieb motor ersatzteil fee. Für die induktionsschleife, begrenzungsschleife, begrenzungskabel, suchkabel, suchschleife.

Ersatzteile wolf garten scooter sv 4 differential fahrantrieb motor ersatzteil fee. Czy chcesz zapisać aktualne kryteria wyszukiwania? Für die induktionsschleife, begrenzungsschleife, begrenzungskabel, suchkabel, suchschleife. Hallo, zum verkauf stehen hier verschiedene ersatzteile eines wolf garten scooter. Wolf garten scooter pro aufsitzmäher mit einem starken wolf garten 382 ccm ohv motor mit druckumlaufschmierung und ölfilter.

Ersatzteile Zubehor Zu Wolf Garten Aufsitzmaeher
Ersatzteile Zubehor Zu Wolf Garten Aufsitzmaeher from image.migros.ch
Zeigen ergebnisse für wolf scooter ersatzteile aus ebay. Extra starke und beständige isolierung. Neben verschleißteilen wie rasenmähermesser, heckenscherenmesser, sägeketten, keilriemen, bowdenzügen, räder und reifen, motorenteile und aufsitzmäher ersatzteile oder golfmobil ersatzteie, finden sie auch artikel für die wassertechnik und winterdiensttechnik. Bitte wählen sie das gewünschte modell aus. Scooter ohv sv sv m, concept bam. Wir arbeiten mit dem ziel allen kunden alle ersatzteile für alle geräte anbieten zu können. Ersatzteile wolf garten scooter sv 4 differential fahrantrieb motor ersatzteil fee. Wolf garten scooter w kategorii maszyny ogrodowe.

Scooter ohv sv sv m, concept bam.

Wolf garten scooter w kategorii maszyny ogrodowe. Wolf garten rasentraktoren scooter mini 13a326sc650 2015 rahmen ersatzteile online kaufen. Für die induktionsschleife, begrenzungsschleife, begrenzungskabel, suchkabel, suchschleife. Neben verschleißteilen wie rasenmähermesser, heckenscherenmesser, sägeketten, keilriemen, bowdenzügen, räder und reifen, motorenteile und aufsitzmäher ersatzteile oder golfmobil ersatzteie, finden sie auch artikel für die wassertechnik und winterdiensttechnik. Hallo, zum verkauf stehen hier verschiedene ersatzteile eines wolf garten scooter. Extra starke und beständige isolierung. 60 cm 23,5 rasenmähermesser für wolfgarten wolf scooter mini rde 60 m/marina jolly. Wolf garten expert expert scooter pro m hwerk d 30 76cm 13b226hd650 2017. Ersatzteile wolf garten scooter sv 4 differential fahrantrieb motor ersatzteil fee. Page 4 scooter sv 4 1 grasfangsack 1 grasscatcher 1 sac de ramassage 1 sacco di raccolta 2 tankeinfüllstutzen 2 petrol fi ller cap 2 geulot de remplissage d'essence 2 bocchettone di riempimento del 3 getriebeschalthebel 3. Die räder sind des modells sind überaus groß, so dass unebenheiten für dem scooter mini 60 e aufsitzmäher keinerlei probleme darstellen; Czy chcesz zapisać aktualne kryteria wyszukiwania? Wählen sie das ersatzteil über die ersatzteilliste ihres gerätes aus.

Das teil wurde wenig benutzt. Wolf garten scooter rb etwas gebrauchsspuren.verkaufe einen wolf scooter, im guten gebrauchszustand, voll funktionsfähig mit fangkorb baumhandschere von wolf garten rr3000. Wir arbeiten mit dem ziel allen kunden alle ersatzteile für alle geräte anbieten zu können. Kunststoff rad für wolf rasenmäher 2. E, ek, xc), premio e, esprit e, 4.

Wolf Garten Scooter Hydro Mahwerk D 30 76cm 13a221sd650 2017
Wolf Garten Scooter Hydro Mahwerk D 30 76cm 13a221sd650 2017 from www.ersatzteil24.de
Neben verschleißteilen wie rasenmähermesser, heckenscherenmesser, sägeketten, keilriemen, bowdenzügen, räder und reifen, motorenteile und aufsitzmäher ersatzteile oder golfmobil ersatzteie, finden sie auch artikel für die wassertechnik und winterdiensttechnik. Soweit nicht anders vermerkt liefern wir keine originalteile.ersatzteile sollten nur von sachkundigen personen verbaut werden und hierbei immer die sicherheitshinweise der entsprechenden hersteller. Wolfgarten scooter kaufen unsere produkte unter den verglichenenwolfgarten scooter. Das teil wurde wenig benutzt. Wählen sie das ersatzteil über die ersatzteilliste ihres gerätes aus. Für die induktionsschleife, begrenzungsschleife, begrenzungskabel, suchkabel, suchschleife. Wolf garten expert expert scooter pro m hwerk d 30 76cm 13b226hd650 2017. Die räder sind des modells sind überaus groß, so dass unebenheiten für dem scooter mini 60 e aufsitzmäher keinerlei probleme darstellen;

Ersatzteile wolf garten scooter sv 4 differential fahrantrieb motor ersatzteil fee.

Wolf garten scooter w kategorii maszyny ogrodowe. Wolf garten expert expert scooter pro m hwerk d 30 76cm 13b226hd650 2017. Wählen sie bitte die gesuchte gerätebezeichnung aus: Extra starke und beständige isolierung. Falls ein artikel wider erwarten nicht ihren vorstellungen entspricht, haben sie 30 tage zeit zu retournieren. Wolf garten rasentraktoren scooter mini 13a326sc650 2015 rahmen ersatzteile online kaufen. Die funktion und der accu sind i.o. Die sicherung vorne an der. Scooter ohv sv sv m, concept bam. Neben verschleißteilen wie rasenmähermesser, heckenscherenmesser, sägeketten, keilriemen, bowdenzügen, räder und reifen, motorenteile und aufsitzmäher ersatzteile oder golfmobil ersatzteie, finden sie auch artikel für die wassertechnik und winterdiensttechnik. Page 4 scooter sv 4 1 grasfangsack 1 grasscatcher 1 sac de ramassage 1 sacco di raccolta 2 tankeinfüllstutzen 2 petrol fi ller cap 2 geulot de remplissage d'essence 2 bocchettone di riempimento del 3 getriebeschalthebel 3. Soweit nicht anders vermerkt liefern wir keine originalteile.ersatzteile sollten nur von sachkundigen personen verbaut werden und hierbei immer die sicherheitshinweise der entsprechenden hersteller. Wolf garten scooter pro aufsitzmäher mit einem starken wolf garten 382 ccm ohv motor mit druckumlaufschmierung und ölfilter.

Wolf garten scooter pro aufsitzmäher mit einem starken wolf garten 382 ccm ohv motor mit druckumlaufschmierung und ölfilter wolfgarten scooter. Wolf garten scooter w kategorii dom i ogród.